logo.png
Hem Produkter / Priser Kampanj Galleri Kundtjänst / FAQ Kontakt

Tekniska fakta om våra fönster och dörrar

Här har vi samlat alla tekniska fakta om våra produkter. Profilritningar, brandsäkerhet, u-värde m.m

Se en profilöversikt över våra produkter.

Om du har några frågor är du alltid välkommen att kontakta oss.

telefon: 0346-932 10 (öppettider 07.30-17.00, lunchstängt 12.30-13.00)

mail: info@mentafonster.se

Allmän information om PVC-fönster

Söker du ett underhållsfritt fönster är PVC-fönster det rätta för dig. Inget skrapande och målande för att hålla fönstren fina i vårt hårda klimat.

Det är de unika egenskaperna hos produkten som gör att de olika klimatförhållandena så som saltvatten, vind, snö, regn och sol inte påverkar fönstret och inte kräver underhåll som gjort fönstret så populära.

PVC-fönster är det fönster som ökar mest i Sverige idag, procentuellt sett. I Europa har fönstret haft stora marknadsandelar under många år, från medelhavet i söder till östersjön i norr.

I Storbritannien har produkten 80 % av utbytesmarknaden.

Våra fönsterkarmar är producerade i PVC av A-klass, med mycket lång livslängd. Uppbyggda med luftceller för god isoleringsförmåga som ger lägre energikostnader och inga underhållskostnader. Tillsammans med de väldigt låga priserna är det ett mycket bra alternativ när du skall köpa nya fönster.

Fakta om 2-glas

Våra 2-glasprofiler är det vi kallar standard. Det är ett mycket bra fönster som genom sin konstruktion ger bra isoleringsförmåga och ljudredundans.

Energiglas med lågemissionsskikt

Argongas mellan glasen

U-värde glas 1.0

U-värde produkt 1.2

5-kamrar med stålprofil

32db

Fakta om 3-glas

3-glasprofiler är till för dig som vill ha extra bra isoleringsförmåga och bättre ljudredundans.

Energiglas med lågemissionsskikt

Argongas mellan glasen

U-värde glas 0.7

U-värde produkt 0.96

5-kamrar med stålprofil

34db

Pristillägg 300kr/m2

Inbrottssäkerhet:

Inbrottssäkerheten är en stor fördel när det gäller pvc-fönstren eftersom man inte kan ta ut fönsterglaset utifrån eftersom glaslisten sitter på insidan. Även gångjärnen sitter på insidan vilket gör det omöjligt att lyfta ur fönsterkassetten.

Brand:

PVC är svårantändligt och självslocknar när brandkällan avlägsnas. Klor inbundet i molekylen ger ett naturligt brandskydd. Antändningstemperaturen är 390°c jämfört med trä som har 240°c.

Miljö:

Hur kan vi värna om miljön genom att köpa fönster?

Välj ett fönster som kräver minimalt underhåll, har lång livslängd, låg energiförbrukning vid tillverkning samt är helt återvinningsbart.

Byt till ett fönster med bättre U-värde än ditt gamla fönster.

UV-beständighet:

PVC fönstret är mycket UV-beständigt. Materialet varken bleks, spricker eller gulnar av solens strålar.

Profiler:

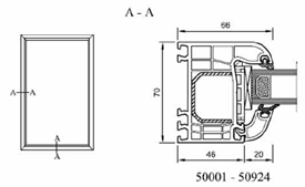
Karmarna på PVC-fönster är uppbyggda med luftkammare för att öka karmens isolerande förmåga med hjälp av luften. I våra fönster är det fem luftkammare (5-kammarsystem) som isolerar värmen från insidan att värma upp den kalla uteluften. För att förhindra att karmen eller bågen på ett PVC-fönster förändrar utseende har man försett dem med en kärna av stål. Det är en U-balk av stål som placerats i karmens och bågens centrum som gör att fönstret är vridstyvt. Nedan ser du alla våra profiler i genomskärning.

Dreh/kipp-funktionen som finns på våra fönster och inåtgående fönsterdörrar är väldigt nytt för den svenska marknaden.

Funktionen är till för att på ett mycket enkelt sätt kunna vädra (kipp-läge) ut huset utan att man skall behöva gå ifrån en vidöppen dörr. I kipp-läget lutar man överkanten på fönstret eller dörren inåt och fortfarande kan ingen utomstående öppna dörren och gå in. Man behöver heller inte oroa sig för att vatten skall komma in i huset. Om det regnar utomhus är det inga problem, man kan vädra även då det väntas en regnskur.

Profiloversikt.jpg 

Här kan du se alla profiler för våra produkter.

Länkar för mer information.

Allmänt:

http://www.pvc.se/PDF/10_kort_lo.pdf

http://www.pvc.se/PDF/bygg_lo.pdf

Fönster, fukt och innemiljö:

http://www.sp.se/sv/index/information/ffi/Sidor/default.aspx

Energi:

http://www.energifonster.nu/

http://www-v2.sp.se/energy/ffi/fakta_fonster.asp

http://www-v2.sp.se/energy/ffi/berakningar.asp

Miljö och framtidarbetet:

http://www.pvc.se/ATERVINNING.html

http://www.pvc.se/LCA_rapport.htm

http://www.vinyl2010.org/images/stories/2010/vinyl2010_progress_report_2010_final.pdf

http://www.pvc.se/VINYL.html

Tekniska egenskaper:

http://www.pvc.se/PDF/brand_lo.pdf

http://www.pvc.se/Om%20PVC/Miljo.htm

http://www.plastkemiforetagen.se/om-pok/Pages/default.aspx

Artiklar:

http://www.byggahus.se/artiklar/valj-ratt-fonster

http://www.pvc.se/nyhetsarkiv.html

Snabbmeny


Hem


Produkter / Priser

Kundtjänst


Galleri

Kampanj

Kontakt


KONTAKTA OSS
FÖR MER INFORMATION ELLER OFFERT

Ring 0346-932 10
info@mentafonster.se
Lena

MentaFönster

Skriv in det du vill söka efter här